Mercedes: Νέα πατέντα με «ανοιγόμενη» οροφή για πιο εύκολη είσοδο
Η γερμανική εταιρία εξελίσσει ένα νέο σύστημα οροφής που ανοίγει μαζί με τις πόρτες, αλλάζοντας τον τρόπο πρόσβασης σε ένα σπορ μοντέλο.
Του Γιάννη Σκουφή
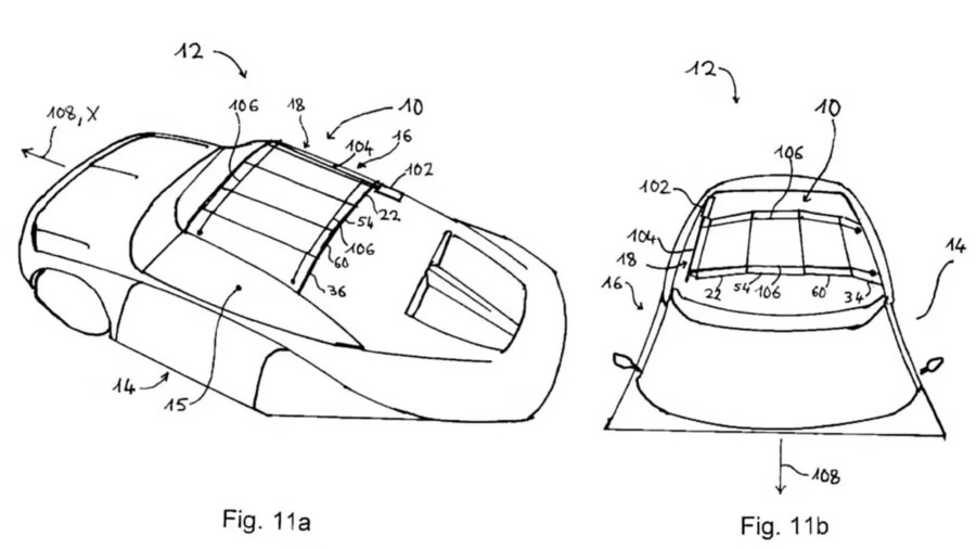
Η Mercedes συνεχίζει να πειραματίζεται με εναλλακτικές λύσεις πρόσβασης, πηγαίνοντας ένα βήμα πέρα από τις κλασικές πόρτες. Σε μια νέα πατέντα που κατατέθηκε στη Γερμανία, η εταιρεία παρουσιάζει ένα σύστημα όπου δεν ανοίγει μόνο η πόρτα, αλλά και τμήμα της οροφής, δημιουργώντας σαφώς μεγαλύτερο άνοιγμα για τον οδηγό και τους επιβάτες.

Η λογική πίσω από την ιδέα είναι απλή: σε μοντέλα με χαμηλή γραμμή οροφής, όπως είναι τα κουπέ και τα supercars, η είσοδος και η έξοδος συχνά απαιτούν «σκύψιμο». Με τη συγκεκριμένη λύση, ένα μέρος της οροφής ανασηκώνεται και μετακινείται προς τα έξω, απελευθερώνοντας χώρο πάνω από το κεφάλι.
Σε αντίθεση με γνωστές λύσεις όπως οι πόρτες τύπου Gullwing (φτερά γλάρου), εδώ η οροφή αποτελείται από επιμέρους τμήματα. Αυτά συνδέονται με πολλαπλούς μεντεσέδες και ανοίγουν σταδιακά, με τρόπο που θυμίζει «δίπλωμα». Έτσι αποφεύγεται η ανάγκη για ένα μεγάλο ενιαίο κομμάτι που απαιτεί μεγάλο χώρο για να κινηθεί.
Το πλεονέκτημα είναι ότι το άνοιγμα γίνεται πιο λειτουργικό, χωρίς να δεσμεύει υπερβολικό χώρο γύρω από το αυτοκίνητο. Παράλληλα, το σύστημα μπορεί να προσφέρει μεγαλύτερη άνεση στη χρήση χαμηλών αυτοκινήτων στην καθημερινότητα.
Ωστόσο, η υλοποίηση μιας τέτοιας λύσης μόνο απλή δεν είναι. Η ύπαρξη πολλών κινητών τμημάτων αυξάνει την πολυπλοκότητα, το βάρος και το κόστος, ενώ δημιουργεί επιπλέον απαιτήσεις σε στεγανότητα, αντοχή και ασφάλεια. Η δομική ακαμψία και η συμπεριφορά σε περίπτωση σύγκρουσης αποτελούν επίσης κρίσιμους παράγοντες.

Η Mercedes έχει εμπειρία σε σύνθετους μηχανισμούς οροφής, όπως η μεταλλική αναδιπλούμενη οροφή της SLK, κάτι που δείχνει ότι η τεχνογνωσία υπάρχει. Το αν αυτή η ιδέα θα φτάσει στην παραγωγή παραμένει ανοιχτό, αλλά αποτυπώνει ξεκάθαρα τη διάθεση της εταιρείας να επαναπροσδιορίσει ακόμα και βασικές λειτουργίες, όπως η είσοδος σε ένα αυτοκίνητο.