Η Toyota κατέθεσε πατέντα για σύστημα πλύσης αυτόνομων αυτοκινήτων

Πως θα καθαρίζονται τα αυτόνομα αυτοκίνητα που θα κυκλοφορήσουν στο μέλλον; Απλή ερώτηση που πλέον έχει και απάντηση.

Η Toyota κατέθεσε πατέντα για σύστημα πλύσης αυτόνομων αυτοκινήτων

Του Γιάννη Σκουφή

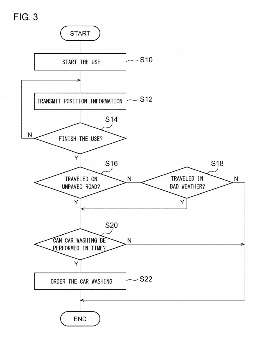
Λίγο πριν τις γιορτές το αρμόδιο γραφείο των ΗΠΑ χορήγησε στην Toyota μια πατέντα για κάτι που αναφέρεται ως «σύστημα απόφαση πλύσης αυτοκινήτου». Μια διαδικασία δηλαδή που θα επιτρέπει στα μελλοντικά αυτόνομα αυτοκίνητα να πηγαίνουν μόνα τους στο πλυντήριο εφόσον χρειάζονται πλύσιμο.

Ακούγεται παράξενα και όντως είναι, ενώ το λογικό διάγραμμα απεικονίζει τον τρόπο με τον οποίο λειτουργεί το σύστημα: το αυτοκίνητο παρέχει όταν κατευθύνεται κάπου και γνωρίζει -με τη βοήθεια φανταζόμαστε κάποιων αισθητήρων ή αν ο καιρός τις προηγούμενες μέρες ήταν κακός ή αν έχει κινηθεί εκτός ασφάλτου- πως χρειάζεται πλύσιμο ενημερώνει το πλυντήριο, που με τη σειρά του δίνει τις απαραίτητες πληροφορίες στο αυτόνομο αυτοκίνητο προκειμένου να μπορέσει να κατευθυνθεί προς αυτό.

Το οποίο φανταζόμαστε θα λειτουργεί επίσης αυτοματοποιημένα, χωρίς ανθρώπινη παρουσία.

Ειδήσεις από την Ελλάδα και τον Κόσμο, τη στιγμή που συμβαίνουν, στο Newsbomb.gr.

Σχόλια
Ροή Ειδήσεων Δημοφιλή