Συρόμενα πεντάλ για χάρη της αυτόνομης οδήγησης

Οι ειδικοί στα κέντρα έρευνας και εξέλιξης αναζητούν συνεχώς νέες τεχνολογίες και λύσεις που να εξυπηρετούν και διευκολύνουν το σύνολο της αυτόνομης οδήγησης.

Συρόμενα πεντάλ για χάρη της αυτόνομης οδήγησης

Του Γιάννη Σκουφή

Η αλήθεια είναι πως έχουμε καιρό να ακούσουμε για τα αυτόνομα αυτοκίνητα μιας και υπάρχουν ακόμα πολλά που πρέπει να γίνουν. Κυρίως στον τομέα της ασφάλειας που πρέπει να διασφαλίζει πρωτίστως το περιβάλλον που κινείται ένα αυτοκίνητο στον «αυτόματο».

Πάντως, ακόμη και σήμερα υπάρχουν πολλά συστήματα που λειτουργούν ημιαυτόνομα, όπως π.χ. αυτό της προειδοποίησης και αποτροπής από μία σύγκρουση με προπορευόμενο όχημα. Τεχνολογικά τα σύγχρονα αυτοκίνητα βρίσκονται ήδη στο Επίπεδο 2 και είναι έτοιμα να περάσουν στο επόμενο (κάτι που μέχρι σήμερα έχει καταφέρει μόνο η Mercedes) με ακόμη πιο έξυπνα συστήματα και με πιο παρεμβατικό τρόπο χάρη στον υψηλότερο δείκτη «νοημοσύνης» τους.

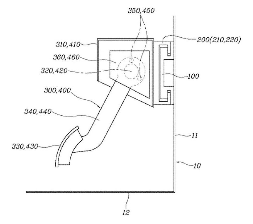
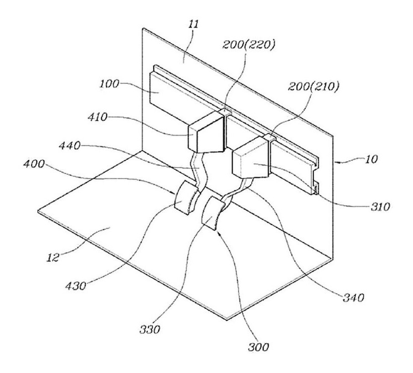
Αξιοσημείωτο είναι πως ήδη οι ειδικοί δουλεύουν και για το Επίπεδο 4 που λογικά θα δούμε να περνά στην παραγωγή από την επόμενη δεκαετία. Ενδεικτικό αυτού είναι πως η Hyundai μελετά αυτόνομα αυτοκίνητα στα οποία τα πεντάλ θα μπορούν να κρύβονται και να σύρονται, όπως περιγράφεται σε μία σχετική πατέντα.

Στο σημείο αυτό να πούμε πως η διαφορά στην αυτόνομη οδήγηση Επιπέδου 4 είναι πως ο οδηγός δεν θα χρειάζεται να έχει την προσοχή του καθόλου στο δρόμο και φυσικά να μην κρατά καθόλου το τιμόνι. Το οποίο θα μπορούσε να έχει σχήμα yoke ή να κρύβεται και αυτό όταν το αυτοκίνητο θα κινείται πλήρως στον αυτόματο.

Σχόλια
Ροή Ειδήσεων Δημοφιλή