Πώς μπορούν οι διαβάσεις των τρένων να γίνουν ασφαλέστερες;
Αρκετά συχνά διαβάζουμε και ακούμε για ατυχήματα με τρένα ακόμη και σε φυλασσόμενες διαβάσεις τρένων.
Του Γιάννη Σκουφή
Θεωρητικά ένα όχημα που κινείται πάνω σε προκαθορισμένη διαδρομή και ειδικότερα πάνω σε ράγες είναι πάντοτε ασφαλές στην πορεία του. Τελευταία όμως διαβάζουμε για διάφορα ατυχήματα που οφείλονται κυρίως σε ανθρώπινα λάθη, όπως το πολύνεκρο ατύχημα στα Τέμπη ή το πιο πρόσφατο στην Ολλανδία με το ξεχασμένο γερανό.
Σε λανθασμένες ανθρώπινες εκτιμήσεις οφείλονται και τα ατυχήματα σε διαβάσεις τρένων, είτε γιατί ο οδηγός παραβίασε το φωτεινό σηματοδότη ή την μπάρα φύλαξης, είτε για οποιαδήποτε άλλη απροσεξία. Και είναι να απορεί κανείς πως στην ψηφιακή εποχή να μην μπορούν να αποφευχθούν τέτοιου είδους καταστάσεις.
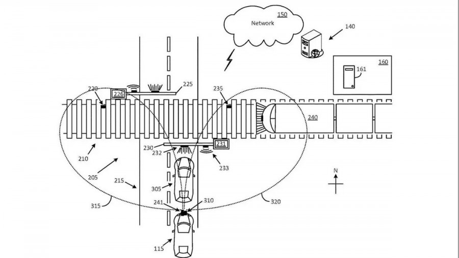
Μία αρκετά έξυπνη λύση για το σκοπό αυτό κατάθεσε η Ford στο γραφείο ευρεσιτεχνιών των ΗΠΑ.

Ουσιαστικά, πρόκειται για ένα σύστημα αναμετάδοσης σημάτων την ώρα που ένα τρένο πλησιάζει στην διάβαση. Τότε, αυτό εκπέμπει σήμα προς τα σταθερά σημεία της διάβασης τα οποία με τη σειρά τους τα αναμεταδίδουν στα αυτοκίνητα που βρίσκονται σε κοντινή απόσταση.
Αξιοσημείωτο είναι πως υπάρχει και η απλή λειτουργία του συστήματος όπου η κάμερα lidar του αυτοκινήτου μπορεί να αναγνωρίσει τους φωτεινούς σηματοδότες και την κατεβασμένη μπάρα και να προειδοποιήσει ανάλογα τον οδηγό.
Προφανώς, όλα αυτά ακούγονται αρκετά «προχωρημένα», αλλά το σίγουρο είναι πως αρκούν για να σώσουν ζωές.