H Ford φέρνει την επανάσταση στα αγροτικά

Μία έξυπνη πατέντα δείχνει πως εύκολες λύσεις μπορούν να λύσουν τα χέρια των επαγγελματιών αυξάνοντας την πρακτικότητα του «εργαλείου» τους.

H Ford φέρνει την επανάσταση στα αγροτικά

Του Γιάννη Σκουφή

H αμερικανική εταιρεία είναι μία από τις πιο καταξιωμένες στην αγορά των pickup με κορυφαία το F-150 για την αμερικανική αγορά και το γνωστό Ranger για αυτές στην Ευρώπη.

Μάλιστα, το πρώτο είναι το δημοφιλέστερο μοντέλο με τις πιο υψηλές πωλήσεις στις ΗΠΑ ανεξαρτήτως κατηγορίας.

Μεταξύ των πολλών δυνατότητες των συγκεκριμένων αυτοκινήτων είναι και η μεγάλη μεταφορική τους δυνατότητα χάρη στην καρότσα τους. Η οποία όμως περιορίζεται από τις διαστάσεις της.

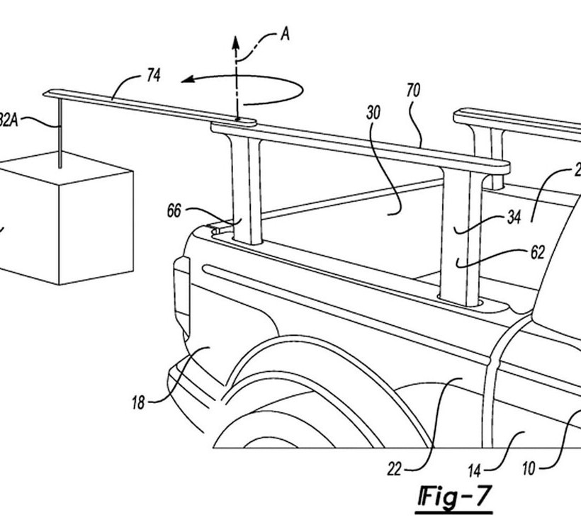
Τι θα λέγατε όμως αν υπήρχε ένας τρόπος που να επιτρέπει την ασφαλή φόρτωση και πρόσδεση διαφόρων φορτίων;

Όπως μπορείτε να δείτε στα σχέδια της πατέντας που κατοχύρωσε η Ford μία έξυπνη λύση θα ήταν τα πτυσσόμενα πλαίσια των πλαϊνών της καρότσας, που όταν αναπτύσσονται θα μπορούν να χρησιμοποιηθούν για την πρόσδεση διαφόρων αντικειμένων.

Μάλιστα, το ύψος τους είναι ρυθμιζόμενο ώστε να προσαρμόζονται ανάλογα με την διάσταση του αντικειμένου που μεταφέρεται. Π.χ. μιας κούτας ή ενός ψυγείου.

Η συγκεκριμένη πατέντα είχε κατοχυρωθεί πριν από τρία χρόνια στο αμερικανικό γραφείο ευρεσιτεχνιών και τώρα επανήλθε στην επικαιρότητα μετά από εκδήλωση ενδιαφέροντας της εταιρίας.

Πιθανότατα να δούμε αυτή την πατέντα να περνά σε κάποιο μελλοντικό μοντέλο παραγωγής προσφέροντας μία έξυπνη αλλά και απλή λύση που σε κάνει να απορείς γιατί δεν την έχουμε δει ήδη σε κάποιο pickup.

Σχόλια
Ροή Ειδήσεων Δημοφιλή